【導讀】中國,2017年10月12日,全球領先的高性能傳感器解決方案供應商艾邁斯半導體公司(ams AG,瑞士股票交易所股票代碼:AMS)今天宣布推出具備雙線PSI5接口的AS5172A/B磁位置傳感器,可實現精確旋轉位置測量數據的快速及安全傳輸。

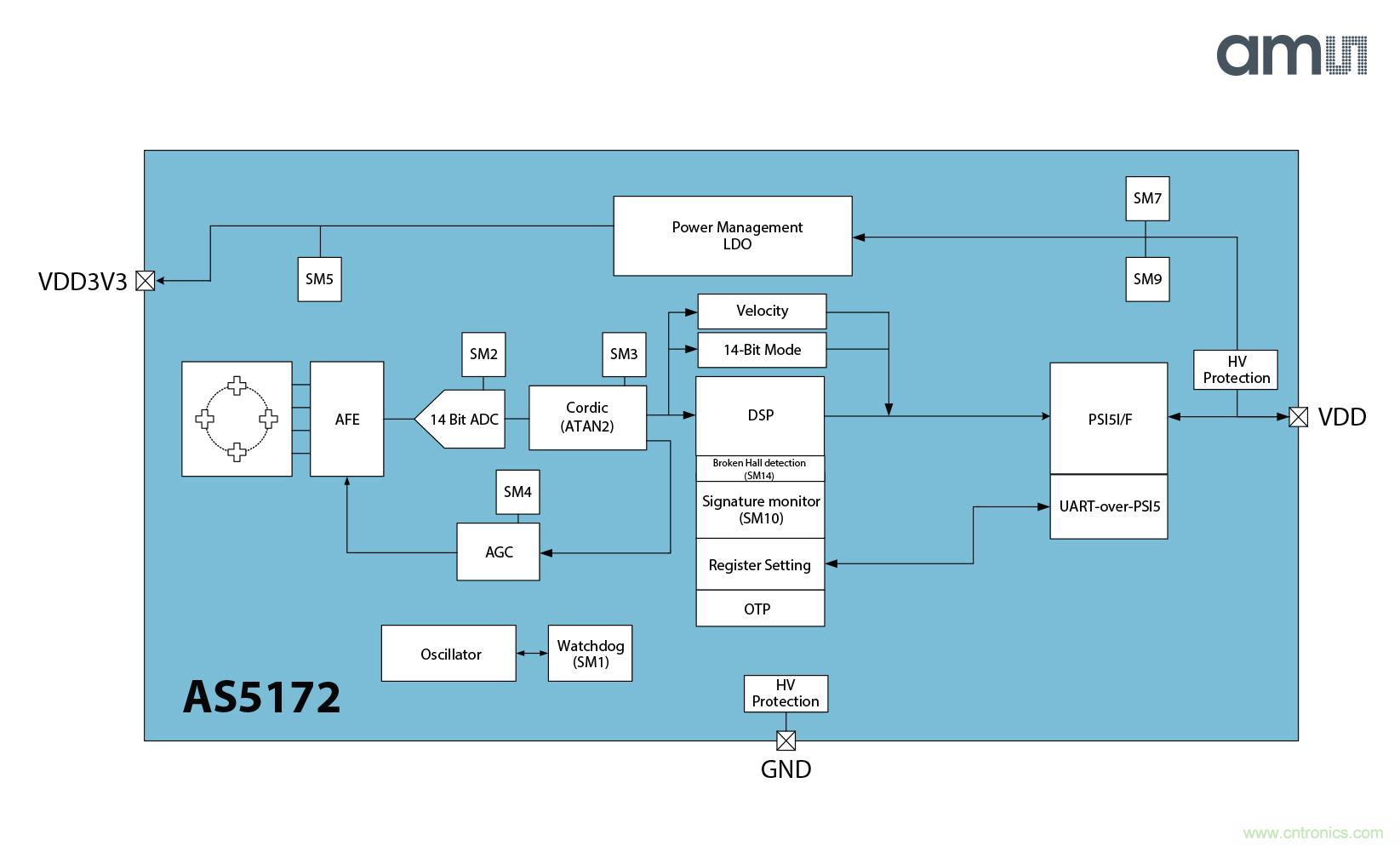
新的AS5172A和AS5172B系統級芯片(SoC)是360度非接觸式的旋轉磁位置傳感器,能夠提供14位高分辨率的絕對角度測量。根據汽車安全標準ISO26262,這兩款傳感器被開發為SEooC設備,并以廣泛的片上自診斷系統為特色。這使AS5172A/B成為對安全性有較高要求的汽車應用的理想選擇,幫助汽車系統滿足最高級別的ASIL安全要求。
此外,AS5172A / B組件中的PSI5接口符合PSI5最新標準1.3和2.1的規定。
經AEC-Q100認證,AS5172A/B能夠支持許多汽車遠程位置傳感應用,包括剎車和油門踏板位置感應、節流閥和節氣門、轉向角傳感器、底盤懸掛高度傳感器、廢氣再循環(EGR)閥和油位測量系統。
借助霍爾傳感技術,AS5172A/B能夠在圓周內正交分布的傳感器陣列來測量磁通量密度,并補償消除外部雜散磁場的影響,提供一個穩健的14位(0.022° 精度)傳感器陣列和模擬前端為中心的穩健結構補償外部的雜散磁場。AS5172A/B也能夠通過編程以支持低至0-10°的全運動轉角范圍,為應用提供最佳分辨率。
高靈敏度的霍爾傳感器前端還能使用小型且低成本的磁鐵,并支持10-90mT的寬磁場輸入范圍。只需一個圍繞封裝中心旋轉的簡單兩極磁鐵就能幾乎同步地提供磁鐵絕對角度位置的信息。磁鐵可被置于設備上方或下方。
AS5172A/B可在4V 至16.5V的寬電壓范圍內運作,并支持高達+20V的過壓保護。此外,電源引腳在高達-18V的反極情況下仍能受到保護。AS5172A/B也可以借助器件上的VDD引腳通過單線UART連接PSI5接口實現簡易編程,減少應用編程連接器的引腳數量。

艾邁斯半導體位置傳感器市場總監Thomas Mueller表示:“汽車客戶不斷對接口和安全標準提出更高要求,AS5172A/B磁角度位置傳感器的推出體現了艾邁斯半導體為滿足客戶需求所付出的不懈努力。具備PSI5接口和穩健嵌入式自診斷功能的AS5172A/B將成為幫助OEM廠商在遠程角位置傳感應用中達到最高ASIL安全等級的最佳解決方案。”
AS5172采用兩種封裝,TSSOP14封裝(AS5172B)和SIP封裝(AS5172A)。SIP封裝(系統封裝)集成了AS5172傳感器晶圓與去耦電容器以提升ESD和EMC性能,免除對PCB的需要,幫助減少整體系統成本。AS5172A能夠在-40°C 至125°C溫度范圍內運行,AS5172B則能在-40°C 到 150°C范圍內運行。
AS5172A/B磁位置傳感器現已量產。AS5172A/B的評估板可在艾邁斯半導體的在線商店獲取。如需索取樣品或了解更多技術信息,請訪問:www.ams.com/Position-Sensors/AS5172A 和 www.ams.com/Position-Sensors/AS5172B。
關于艾邁斯半導體
艾邁斯半導體公司設計和制造高性能模擬傳感器解決方案。公司愿景是通過更高級別的傳感器解決方案提供無縫的人機交互,打造完美世界。
艾邁斯半導體的高性能傳感器解決方案致力于推動對小型外觀、低功耗、高靈敏度、多傳感器集成有要求的應用。艾邁斯半導體為消費、通訊、工業、醫療和汽車市場的客戶提供包括傳感器解決方案、傳感器IC、接口及相關軟件在內的產品。
艾邁斯半導體公司總部位于奧地利,全球員工超過9,000人,為遍布全球的8,000多家客戶提供服務。艾邁斯半導體在瑞士證券交易所上市(股票代碼——瑞士股票交易所:AMS)。了解更多信息,請訪問www.ams.com
推薦閱讀:


